07.10.2013, 08:45 Uhr
Google patentiert Gestensteuerung fürs Auto
Ein jetzt veröffentlichtes Google-Patent beschreibt, wie man mittels Gesten während des Autofahrens diverse Funktionen wie z.B. die Musikanlage steuern soll.
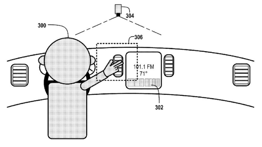
Google weibelt bekanntlich an allen Fronten und macht auch vor Autos nicht halt. Nebst den berühmten selbstfahrenden Autos tüftelt der Internetriese offenbar auch noch an weiteren Software-Lösungen, die den Alltag von Autofahrern erleichtern soll. Ein nun publik gewordenes Patent von Google beschreibt, wie man mittels Gesten diverse Funktionen im Auto steuert. So soll man mittels Fingerzeig beispielsweise die Lautstärke der Musikanlage, die Klimaanlage oder das Navigationssystem steuern können.
Je nachdem, in welchem Bereich man die Geste ausführt, sollen dabei unterschiedliche Funktionen angesprochen werden. Erfasst werden die Gesten gemäss Patent entweder durch eine Kamera oder einen dreidimensionalen Laserscanner.
Beantragt wurde das Google-Patent bereits im April 2012. In der ausführlichen Beschreibung argumentiert der Internetriese, dass die Bedienung von Knöpfen und anderen Bedienelementen während des Fahrens umständlich sei und die Verkehrssicherheit beeinträchtige. Dank der Gestensteuerung soll man weniger vom Fahren abgelenkt werden, so die Idee.
Je nachdem, in welchem Bereich man die Geste ausführt, sollen dabei unterschiedliche Funktionen angesprochen werden. Erfasst werden die Gesten gemäss Patent entweder durch eine Kamera oder einen dreidimensionalen Laserscanner.
Beantragt wurde das Google-Patent bereits im April 2012. In der ausführlichen Beschreibung argumentiert der Internetriese, dass die Bedienung von Knöpfen und anderen Bedienelementen während des Fahrens umständlich sei und die Verkehrssicherheit beeinträchtige. Dank der Gestensteuerung soll man weniger vom Fahren abgelenkt werden, so die Idee.